Neue Respirationskammern für die Forschung mit landwirtschaftlichen Nutztieren
In Europa sind derzeit nur noch einige wenige Respirationsanlagen für landwirtschaftliche Nutztiere in Betrieb. Eine davon befindet sich an der ETH und besteht aus total sechs Respirationskammern in drei Grössen. Die Kammern bestehen in ihren Grundzügen seit rund 20 Jahren und werden bis heute für Versuche genutzt. Bedingt durch das Alter der Kammern und Geräte wird der Unterhalt jedoch immer aufwendiger. Zudem kam es wiederholt zu Ausfällen, welche den Versuchsablauf empfindlich störten. Damit auch in Zukunft Messungen zum Gesamtstoffwechsel und zu Gasemissionen möglich sind, soll in einem Gemeinschaftsprojekt von Universität Zürich (UZH) und ETH bis Oktober 2012 eine neue Respirationsanlage mit total 12 Respirationskammern entstehen.
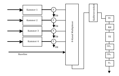
Die Kammern (4 kleine für Kaninchen & Geflügel, 4 mittlere für Schweine, Schafe & Ziegen und 4 grosse für Rinder & Milchvieh) dienen dazu, den Gasstoffwechsel der Tiere zu untersuchen. Diese Untersuchung funktioniert nach folgendem Prinzip: Es wird konstant Luft mit einer bestimmten Flussrate aus der Kammer gesogen (sogenanntes ’offenes System mit pull mode’). Die Messung des Gasflusses erfolgt erst nach der Kammer. Die Flussrate beträgt je nach Grösse des Tieres 30-600 l/min (1.8 – 36 m3/h). Ein kleiner Teil der Luft wird über die Analysatoren geleitet, während die restliche Luft wieder nach draussen abgeführt wird. Die Differenz zwischen der Zusammensetzung der Umgebungsluft und der aus der Kammer abgeführten Luft ermöglicht Rückschlüsse auf Verhältnis zwischen produziertem Kohlendioxid (CO2) und verbrauchtem Sauerstoff (O2), den Respiratorischen Quotient. Dieser lässt Rückschlüsse auf das metabolisierte Substrat (Kohlenhydrat, Protein, Fett) zu. In Kombination mit Harn- und Kotsammlungen (sowie je nach Tier auch Eier oder Milch) können Stickstoff (N) und Kohlenstoff (C)- Bilanzen gemessen werden, welche Hinweise auf den Energiehaushalt des Tieres liefern. Die Messung von Methan (CH4) und Ammoniak (NH3) erlauben auch die Diskussion umweltrelevanter Fragen der Nutztierhaltung.
In all diesen Fällen kann dank der Respirationskammern die Effizienz verschiedenster Massnahmen (z.B. Futterzusatzstoffe, unterschiedliche Futterrationen etc.) sehr genau untersucht werden. Beruhend auf den Forschungsresultaten sind anschliessend Empfehlungen an die Praxis möglich.
Vereinfachtes Funktionsschema

Entwurfskizzen für Kammern
